A GPON WiFi Router (All in One) based on Realtek SoC Processor that given by TM for Unifi Ultra Subscriber,
it share same Realtek LUNA SDK as my PON Stick Project. So I quite familiar with the layout.
Official Warranty
1. 1-Year Limited Warranty: Provided by TM, ensuring coverage for manufacturing defects.
2. Free Replacement: Available for customers who are currently under contract with TM.
3. Contractual Implications: For customers not under contract, a replacement will automatically initiate a new 2-year contract with TM.
Avoiding Contract
If you want to avoid committing to a 2-year contract, you can opt for a custom-built GPON Stick or a managed GPON device compatible with TM's OMCI, available for purchase.
Specification
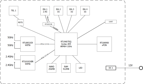
SoC: RTL9607DQ (Cortex A55), 4 Core @ 1GHz, AArch64, ARMv8
RAM: 512MB DDR3L @ 1866MT/s
MEM: 256MB SPI Flash Winbond
OS: Realtek ASDK64, Linux Kernel 5.10.70 (glibc v2.30)
MB: Realtek Taurus ENG Board
A1 (White)
WiFi6: RTL8852CE (2.4GHz & 5GHz)
B1 (Black)
WiFi6: RTL8192XBR (2.4GHz) + RTL8832CR (5GHz)
LAN1: RTL8221B Switch Chip (HiSGMII to 2500Base-T)
Internal
Image of A1 Hardware a gift by chong601
Image of B1 Hardware
Block Diagram
A1 (White)

B1 (Black)

Discovery 10G
I found stock firmware has 10G PON (XGPON, XGSPON). Maybe TM have planning to migrating

Known Issue
1. Prior to B1 Hardware @ V2.0.2 have issue to set bridge mode on certain OLT, temporary fix is by accessing UART at change FwdOp to 0x02
2. Prior to B1 Hardware @ V2.0.2 when in bridge mode, LAN side management such as WebGUI, SSH, Telnet being killed by deep ME 171 (ex: Alcatel-Lucent/Nokia OLT)
3. Both Hardware has so called "Cloud IoT" for D-Link Air, it always running and always watching, other considered this as Backdoor
Vulnerability ⚠️
Two user has been verified there several CVE or more.
If you are concern about security and want to minimise risk of attack, DON'T USE THIS DEVICE
Use of Dumb ONT Bridge to avoid backdoor, can re-use this D-Link as ATA Device, I recommend get own ATA or Desktop SIP Phone
It appear that Firmware V2.0.3 as same vulnerability as previous version
VoIP User Agent
CODE
DPN-FX3060V_V2.0.2 (SIP-std-R11448)
Management Entities Issue
OMCI ME can be very complex and total control of your ONT even without TR069! This mean TM can disallow Bridging and Force creation of PPPoE inside the Router!
Example of Simple OMCI Stack

* based on Alcatel-Lucent/Nokia OLT
ME Point
The RLT9607DQ has HiSGMII which can be paired with RLT8221B for 2.5GbE Access, but it use wrong ME Point, this can be fix by adjusting the OLT or Hack

Nijika Firmware A port form PON Stick Project

I have ported my PON Stick Project to both hardware, In my spare time, I manage to add OLT Info page and bug fix!
OLT Info
ZTEG/5a544547 (ZTE)

ALCL/414c434c (Alcatel-Lucent/Nokia)

ALCL/414c434c (Alcatel-Lucent/Nokia) by jonathanwhm

As you can see, even on same OLT, the way VLAN is being push, set and manage is different, for example my fiber VLAN400 (VoIP) doesn't exist on LAN1 UNI but only exist on VEIP UNI
This discrepancy among OLT's make many user unable to bridge!
OLT Vendor Id
| ASCII | HEX |
| ALCL | 414c434c |
| FHTT | 46485454 |
| FHTT | 0x00* |
| HWTC | 48575443 |
| UBNT | 55424e54 |
| ZTEG | 5a544547 |
| - | 0x00** |
** Sometime TM use off-brand OLT on Kampung/under-develop area
OLT Issue
On my experience during PON Stick deployment, there are many ME 171 to map. Rank from top (most troublesome)
1. Fiberhome (FHTT) (most troublesome)
QUOTE
A. FHTT doesn't show it's OLT Vendor Id when in Universal Mode, it cause to display as 0x00.
B. Also FHTT push ME 171 varies from customer to customer, mostly are able to bridge until ME 171 become Router Mode which is need a special IGD hack to fool OLT and quietly bridge VLAN 500 to SFP Interface
C. Speed issue are very common on FHTT, It's has lack proper QoS and doesn't have DSCP, wrong ME 277 (Priority Queue) cause speed drop or even worst: 2000Mbps Download, 67Mbps Upload
2. Alcatel-Lucent/Nokia (ALCL)B. Also FHTT push ME 171 varies from customer to customer, mostly are able to bridge until ME 171 become Router Mode which is need a special IGD hack to fool OLT and quietly bridge VLAN 500 to SFP Interface
C. Speed issue are very common on FHTT, It's has lack proper QoS and doesn't have DSCP, wrong ME 277 (Priority Queue) cause speed drop or even worst: 2000Mbps Download, 67Mbps Upload
QUOTE
A. ALCL has very deep ME 171, even it can kill WebGUI, disable LAN Ports even crash the ONT by sending same VLAN on PPTP and VEIP!
B. Bridging VoIP from VEIP to LAN/SFP side can very tricky, but possible to override!
C. First time activation, only one ME 171 profile for you for all ONT you have!
D. ALCL has proper QoS and DSCP, this give user more speed especially upload speed can be max as 1100Mbps!
3. Huawei (HWTC)B. Bridging VoIP from VEIP to LAN/SFP side can very tricky, but possible to override!
C. First time activation, only one ME 171 profile for you for all ONT you have!
D. ALCL has proper QoS and DSCP, this give user more speed especially upload speed can be max as 1100Mbps!
QUOTE
A. HWTC have different Forwarding Operation (FwdOp) depend on legal TM ONT, mostly HWTC would use 0x04 or 0x10 for other ONT
B. Bridging VoIP from VEIP to LAN/SFP side can very tricky, but possible to override!
C. Plugging different ONT cause HWTC set different ME 171 profile to match that ONT, as simple fix!
4. ZTE (ZTEG) (least troublesome)B. Bridging VoIP from VEIP to LAN/SFP side can very tricky, but possible to override!
C. Plugging different ONT cause HWTC set different ME 171 profile to match that ONT, as simple fix!
QUOTE
A. ZTEG in Universal is very easy to handle, ME 171 also simple
B. ZTEG has very highest speed performance! Download speed can be max as 2129Mbps! overtake ALCL for Download performance!
C. ZTEG also has proper QoS despite lack DSCP feature!
If you ask me, FHTT is crap to work with! I hate FHTT Priority Queue so much!B. ZTEG has very highest speed performance! Download speed can be max as 2129Mbps! overtake ALCL for Download performance!
C. ZTEG also has proper QoS despite lack DSCP feature!
Share OLT Status Page
Please update the firmware to correct Hardware A1 or B1, and share your OLT Info just like screenshot above,
This way we here can know which OLT are you on, either troublesome FHTT or awesome ZTEG
Firmware download can be found on next post
This post has been edited by Anime4000: Oct 27 2024, 03:49 AM
May 22 2024, 12:41 PM, updated 10 months ago
Quote












0.0326sec
1.21
6 queries
GZIP Disabled